2021-04-19
来源:游民星空
作者:白鸠
据外媒Gamerant报道,索尼近日提交了一项关于新控制器的专利,虽然这个专利不一定会彻底改变玩家游戏方式,但很可能会极大增强玩家玩VR游戏的沉浸感。

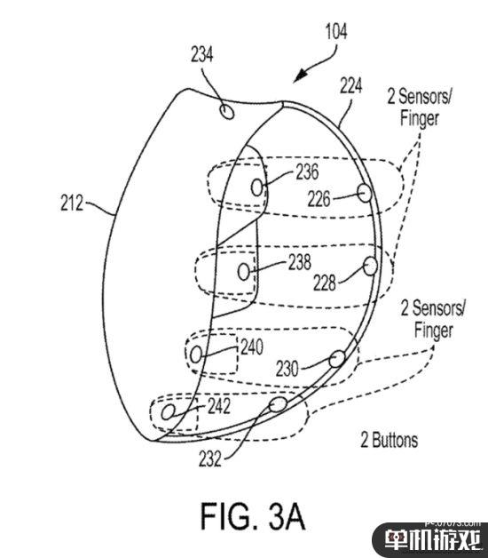
尽管PSVR让索尼取得了适度且稳定的成功,但PSVR的控制系统仍是其弱项。这个新控制器相较于索尼之前公布的PS5全新VR控制器而言,新增了磁传感器,可以对玩家手指进行追踪,允许玩家将手摆成特定姿势,通过游戏控制台将动作体现在游戏中。这将增强玩家游玩VR游戏的沉浸感,玩家可以用手部动作替换按下按键的动作,更加自然地捡起或使用道具。

除此之外,该专利还展示了一种手套型的新控制器。这款新控制器将使用弯曲传感器来确定玩家每个手指的动作,这种手套型控制器通常用于企业VR培训项目和专业动作捕捉,而不是面向消费者。手套型控制器的手指追踪功能将有助于二代PSVR和高端VR设备相竞争,索尼可能会将已公开的PS5VR控制器作为入门级外设,然后为硬核VR爱好者提供专利中展示的更复杂的控制器和手套。
